QR koodi
Tuotteet
Ota meihin yhteyttä


Faksi
+86-574-87168065

Sähköposti

Osoite
LUOTUO -teollisuusalue, Zhenhai District, Ningbo City, Kiina
Jos sinulla on raskaita koneita - kuten metallia puristavat terästeokset, jotka vaihtavat, nosturit nostavat tonnia materiaalia tai kaivosvaihde, joka taistelee pölyä ja painetta maan alla - tarvitset kytkentä, joka ei petä sinua. Juuri juuri Raydafonin SWC-BH-vakiohitsaustyyppinen yleinen kytkentä on rakennettu: luotettava vääntömomentinsiirto, vaikka työ joutuu karkeasti.
Ensinnäkin, puhutaan sen suunnittelusta. Hitsattu ike ei ole vain ominaisuus-se on pelinvaihtaja. Toisin kuin pultti -yoksit, jotka voivat löysää ajan myötä, tämä on hitsattu kiinteä, joten osien vaarassa ei ole vaaraa, kun koneesi työskentelee kovasti. Ja se sopii myös valikoimaan asennuksia, joiden halkaisijat ovat 180 mm-620 mm-ei tarvitse metsästää yhden koon sopivaa vaihtoehtoa. Tavanomaisena flex -yleisen kytkentänä se käsittelee jopa 15 astetta kulma -väärinkäyttöä, mikä tarkoittaa, että jos akselit eivät ole täydellisesti riviin (ja olkaamme todellisia, ne ovat harvoin), se pitää silti voiman liikkumisen. Jopa silloin, kun vääntömomentti osuu 1250 kn · m - surkea voima -, se pysyy vakaana, ei otoksia, ei tippoja.
Emme myöskään hukanneet materiaaleja. Tämä asia on valmistettu 35Crmo-teräksellä-korkealla varustetulla tavaroilla, jotka vastustavat kulumista, jopa silloin, kun se paukutetaan kaivokseen tai lämmitetty lähellä liikkuvaa tehtaalla. Lisäksi laitamme neulalaakerit tarkasti, joten se liikkuu sileä, leikkaa kitkan ja kestää paljon pidempään kuin halvemmat kytkimet. Siksi se on universaalisten kytkentöjen meneminen raskaisiin koneisiin-se ei toimi vain muutaman viikon ajan; Se tarttuu ympäriinsä pitäen laitteesi käynnissä. Ja jos tarvitset hitsatut yleiset kytkimet teollisiin sovelluksiin? Tämä on se - hitsattu muotoilu käsittelee värähtelyä ja stressiä paremmin kuin pulttivaihtoehdot, joten vietät vähemmän aikaa kiinnittämiseen ja enemmän aikaa työskentelemään.
Raydafonissa teemme nämä Kiinassa, mutta emme leikkaa kulmia laadusta. Jokainen askel seuraa ISO 9001 -standardeja - tarkistamme teräksen, tarkastamme hitsit, testaamme laakerit - joten tiedät, että saat kytkentä, joka täyttää maailmanlaajuiset laatusäännöt. Ja jos asetuksesi on hieman erilainen? Teemme mukautettuja parannuksia - mukauttamme koon, säätämme teknisiä tietoja - riippumatta siitä, mitä tarvitset, jotta se sopii. Paras osa? Se ei ole hinnoiteltu kuin ylellinen osa. Saat kestävän yleisen kytkimen, joka toimii ahkerasti maksamatta omaisuutta. Kaikille, joilla ei ole varaa seisokkeihin, tämä SWC-BH-kytkentä on sellainen luotettava pala, joka pitää koneesi liikkumassa päivässä.
| Ei. | Gyration -halkaisija d mm | Nimellismomentti TN Kn · m | Akselit taittokulma β (°) | Väsynyt vääntömomentti TF Kn · m | Koko (mm) | Pyörivä inertia KG.M2 | Paino (kg) | |||||||||||
| Lemin | D1 (JS11) | D2 (H7) | D3 | Lm | n-d | k | t | b (H9) | g | Lemin | Lisätä 100 mm | Lemin | Lisätä 100 mm | |||||
| SWC100WH | 100 | 1.25 | 0.63 | 25 ° | 243 | 84 | 57 | 60 | 55 | 6-9 | 7 | 2.5 | - | - | 0.0039 | 0.00019 | 4.5 | 0.35 |
| SWC120WH | 120 | 2.5 | 1.25 | 25 ° | 307 | 102 | 75 | 70 | 65 | 8-11 | 8 | 2.5 | - | - | 0.0096 | 0.00044 | 7.7 | 0.55 |
| SWC150WH | 150 | 5 | 25 | 25 ° | 350 | 130 | 90 | 89 | 80 | 8-13 | 10 | 3 | - | - | 0.371 | 0.00157 | 18 | 24.5 |
| SWC180WH | 180 | 12.5 | 6.3 | 25 ° | 180 | 155 | 105 | 114 | 110 | 8-17 | 17 | 5 | - | - | 0.15 | 0.007 | 48 | 2.8 |
| SWC225WH | 225 | 40 | 20 | 15 ° | 520 | 196 | 135 | 152 | 120 | 8-17 | 20 | 5 | 32 | 9 | 0.365 | 0.0234 | 78 | 4.9 |
| SWC250WH | 250 | 63 | 31.5 | 15 ° | 620 | 218 | 150 | 168 | 140 | 8-19 | 25 | 6 | 40 | 12.5 | 0.817 | 0.0277 | 124 | 5.3 |
| SWC285WH | 285 | 90 | 45 | 15 ° | 720 | 245 | 170 | 194 | 160 | 8-21 | 27 | 7 | 40 | 15 | 1.756 | 0.051 | 185 | 6.3 |
| SWC315WH | 315 | 125 | 63 | 15 ° | 805 | 280 | 185 | 219 | 219 | 10-23 | 32 | 8 | 40 | 15 | 2.893 | 0.0795 | 262 | 8 |
| SWC350WH | 350 | 180 | 90 | 15 ° | 875 | 310 | 210 | 267 | 194 | 10-23 | 35 | 8 | 50 | 16 | 5.013 | 0.2219 | 374 | 15 |
| SWC390WH | 390 | 250 | 125 | 15 ° | 955 | 345 | 235 | 267 | 215 | 10-25 | 40 | 8 | 70 | 18 | 8.406 | 0.2219 | 506 | 15 |
| SWC440WH | 440 | 355 | 180 | 15 ° | 1155 | 390 | 255 | 325 | 260 | 16-28 | 42 | 10 | 80 | 20 | 15.79 | 0.4744 | 790 | 21.7 |
| SWC490WH | 490 | 500 | 250 | 15 ° | 1205 | 435 | 275 | 325 | 270 | 16-31 | 47 | 12 | 90 | 22.5 | 26.54 | 0.4744 | 1014 | 21.7 |
| SWC550WH | 550 | 710 | 355 | 15 ° | 1355 | 492 | 320 | 426 | 325 | 16-31 | 50 | 12 | 100 | 22.5 | 48.32 | 1.357 | 1526 | 34 |
Jos olet kyllästynyt käsittelemään kiusallisia kytkimiä, jotka hidastavat työtäsi tai taukoa, kun tarvitset niitä eniten, Raydafonin SWC-WH ilman flex-hitsaustyyppisiä universaali-kytkentä on pelinvaihtaja. Se on täynnä etuisuuksia, jotka tekevät siitä ylimmän valinnan kaikille, jotka tarvitsevat sujuvaa vääntömomentin siirtoa mekaanisissa järjestelmissä - ei hämmentäviä hitsausvaiheita, vain vankka suorituskyky, joka sopii suoraan työnkulkuun.
Ensinnäkin tämän asian asentaminen on paljon helpompaa kuin luuletkaan. Toisin kuin hitsatut kytkimet, jotka pakottavat sinut tuomaan ylimääräisiä työkaluja tai odottamaan hitsien asettamista, SWC-WH: t käyttävät pultti-mallia. Voit sijoittaa sen olemassa olevaan asennukseen nopeasti, ja kun on aika huoltoa? Sen erottaminen on helppoa, joten teollisuusvaruste vie vähemmän aikaa tyhjäkäynnillä. Siksi se on niin suuri monipuolinen korkea-torjuntainen yleinen nivelkytkentä-ei seisokkeja, vain päästä sisään, korjata tarvitsemasi ja palata töihin.
Kestävyyden mukaan se on rakennettu vaikeaksi. Käytämme raskaita materiaaleja, jotka käsittelevät suuria kuormia ja jatkuvia värähtelyjä ilman vilkkuvia-täydellisiä kiireisiin teollisuuspaikkoihin, joissa laitteet eivät koskaan oikeastaan saa taukoa. Ja koska hitsausta ei ole, sinun ei tarvitse huolehtia niistä heikkoista kohteista, jotka ilmestyvät, kun hitsit kuluvat ajan myötä. Tämä ei ole kytkentä, joka tarvitsee vaihtaa muutaman kuukauden välein; Se on luotettava yleinen yhteinen kytkentä teollisuuskoneille, jotka tarttuvat ympäriinsä pitäen toimintasi tasaisena.
Väärinkäytökset? Ei hätää. Akselit eivät koskaan pysy täydellisesti rivissä, etenkin auto- tai kuljetusjärjestelmissä, mutta SWC-WH: t käsittelevät kulma-, aksiaali- ja säteittäisiä poikkeamia kuin pro. Se on sellainen asema -akselin yleinen nivelkytkentä, joka pitää voiman liikkumassa sujuvasti, vaikka kohdistus saa aikaan hankalaksi - ei nykäyksiä, ei tippoja, vain johdonmukaista suorituskykyä.
Ja puhutaan kustannuksista. Hitsaus lisää ylimääräisiä työvoima- ja materiaalimaksuja, mutta tämä kytkentä ohittaa kaiken. Saat laadukkaan tuotteen ilman ylimääräisiä kuluja, mikä on iso voitto kaikille budjetille. Jopa hankalissa paikoissa, kuten meren asennuksissa, joissa korroosio on jatkuva uhka, se pitää kiinni luotettavana merijalkaväen nivelkytkenä - yhdessä suolavettä vastaan, helppoa lompakkoasi.
Jos olet uusiutuva energia, tämä kytkentä sopii myös sisään. Se on vankka yleinen nivelkytkentä uusiutuvien energialähteiden laitteille, jotka liikuttavat tehokkaasti, tuskin mitään jätettä. Lisäksi se on kevyt, joten se ei punnitse järjestelmääsi - suuri asioiden pitämiseksi kestävästi uhraamatta suorituskykyä.
Raydafonissa emme myy vain kytkimiä - teemme tarpeitasi vastaavat. SWC-WH on muokattavissa, joten se toimii tarkalleen miten haluat. Jos olet utelias, kuinka se voi tehdä toiminnastasi sujuvamman, lyö vain joukkueemme. Kävelemme sinut läpi sen, ei žargonia - vain suoraan puhumme siitä, mitä tämä kytkentä voi tehdä sinulle.
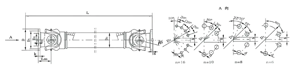
Raydafonin SWC-WH: n ilman flex-hitsaustyyppisiä yleisiä kytkentä toimii kardan nivelmekaniikan perustiedoksesta-mutta olemme mukauttaneet sitä kovemmin teollisuustyöhön. Koko kohta? Hanki vääntömomentti sujuvasti kahden akselin välillä, jotka eivät ole täydellisesti rivissä, vaikka ne olisivat kulmassa. Tarkoitukseen rakennettuna SWC CARDAN-akselin yleisen nivelkytkentänä se käyttää keskellä ristikkäistä kappaletta kiertovoiman virtaamisen pitämiseksi tasaisena-sitä, miksi se on niin korkea-Torque-yleinen nivelkytkentä kovaan työhön, kuten rullatalloja tai nostokonetta.
Hajautetaan ydin, miten se toimii: Haarukkaa on kaksi, ja ne yhdistetään keskusristillä (kutsumme sitä hämähäkki). Tämän asennuksen avulla yokit kääntyvät moniin suuntiin - joten vaikka akselit korvataan jopa 25 ° (eli sen maksimiakselin taitokulma), vääntömomentti kulkee edelleen tasaisesti. Siinä on myös teknisiä tietoja, jotka tukevat myös sitä: Gyration -halkaisijat vaihtelevat φ58: sta φ620: een, ja se käsittelee nimellismomenttia välillä 0,15 - 1000 kN · m. Kun käytät sitä raskaana yleisenä nivelkytkimenä valssauslaitosoperaatioihin, tämä malli tarkoittaa syöttökiertoa, joka muuttuu lähtöliikkeeksi ilman koukkua-nuo nivelten nivelet kääntyvät yksinään väärien kohdistusten korvaamiseksi, ei keskeytyksiä.
Mikä tekee "ilman taipumista hitsausta" -osaan? Vaihdoimme hitsit pultti- tai kiinnitettyjen liitäntöjen suhteen. Hitsit voivat olla heikkoja kohtia ajan myötä, mutta nämä kiinnittimet vähentävät vikariskejä - ja ne tekevät myös kytkennän yhdistämisen helpommaksi. Tällä teollisella yleisen nivelkytkimellä on myös päivitetty haarukka päänsuunnittelu, joka estää pultteja löystymästä, mikä lisää sen rakenteellista lujuutta 30%-50%. Se on iso juttu vaativille kohteille, kuten kaivoksille tai rakennuspaikoille, missä se toimii kestävänä SWC: n yleisenä nivel -akselin kytkentänä - pitämällä raskaita kuormituksia antamatta.
Tehokkuus on toinen voitto tässä: se osuu jopa 98,6%: n siirtotehokkuuteen. Suunnittelimme kaikki osat kitkan ja energiajätteen vähentämiseksi-joten ei ole yllättävää Ja se on hiljainen: yleensä 30-40 dB (a). Se on tasapainoisen kierto- ja sisäänrakennetun tärinänvaimennuksen ansiosta-tekemällä siitä matalan kohinan yleinen nivelkytkentä paikkoihin, joissa melu on ongelma. Lisäksi se pitää energiakustannukset alhaisina, joten se tarkistaa myös energiaa säästävän yleisen nivelkytkentätarpeen.
Raskaissa koneissa Universal nivel-kytkentäjärjestelmissä tällä on merkitystä: SWC-WH leviää voimat tasaisesti kaikkiin osiin. Yksikään yksi kappale ei vie liian paljon rasitusta, mikä tarkoittaa vähemmän erittelyjä ja pidempää käyttöikää. Raydafonissa emme vain rakenna tätä kytkemistä tapaamaan teknisiä tietoja - räätälöimme sen toimimaan työhösi, olipa kyse karkeasta raskaasta koneesta tai erikoistuneista teollisuusasetuksista. Jos haluat säätää sen, jotta järjestelmäsi toimisi sujuvampaa tai kestämään pidempään, puhu vain tiimimme kanssa - autamme sinua saamaan asennuksen, joka sopii juuri siihen, mitä tarvitset.
⭐⭐⭐⭐⭐ Zhang Wei, mekaaninen insinööri, Peking Industrial Machinery Co., Ltd.
Meillä on ollut Raydafonin SWC-WH: ta ilman taipumista hitsaustyyppistä yleistä kytkentä tuotantolaitteissamme muutaman kuukauden ajan, ja se on ollut tasainen esiintyjä-varsinkin kun työntämme koneitamme käsittelemään korkeita kuormia. Mitä todella arvostan, on sen vankka rakenne: jopa niissä pitkissä, vaativissa vuoroissa, joissa muut osat saattavat alkaa horjua, tämä kytkentä pitää asiat sujuvasti - ei satunnaisia värähtelyjä, ei äkillisiä epäonnistumisia, jotka heittävät koko linjamme pois.
Asennus oli myös helppoa. Tiimimme ei tarvinnut viettää tunteja monimutkaisten vaiheiden selvittämiseen; Saimme sen asennettuna nopeasti, eikä meidän tarvinnut säätää sitä sen jälkeen. Raskasvarusteisiin, kuten meidän, luotettavuus ja laatu eivät ole neuvoteltavissa, ja tämä kytkentä tarkistaa molemmat ruudut. Raydafonin todistettu, että he ovat kumppani, johon voimme luottaa täällä - olemme todella tyytyväisiä tämän tuotteen pitämiseen.
⭐⭐⭐⭐⭐ John Smith, kasvien johtaja, Florida Manufacturing, USA
Laitoin Raydafonin SWC-WH-kytkemisen käyttöön Floridan laitoksessamme muutama kuukausi sitten, ja se on tarkalleen mitä tarvitsimme-yksinkertainen, ei-fuss ja jatkuvasti tehokas. Virransiirto pysyy vakaana, mikä on avain tuotantomme pitämiseen vauhdissa, ja meidän ei ole tarvinnut koskettaa sitä huoltoa varten kerran. Se on meille iso voitto; Vähemmän aikaa osien korjaamiseen tarkoittaa enemmän aikaa työn tekemiseen.
Jopa silloin, kun ajamme koneita kovasti, suuressa stressissä, tämä kytkentä ei vilkuta - se vain jatkaa. Asennus oli myös suoraviivaista; Teknologiamme oli asetettu nopeasti. Ja kun pariliitot tämän suorituskyvyn kohtuulliseen hintaan? Se on vankka arvo. Lisäksi Raydafonin asiakastuki oli huippuluokkaa, kun meillä oli nopea kysymys-he palasivat meille nopeasti. Epäilemättä käytämme heidän tuotteitaan linjassa.
⭐⭐⭐⭐⭐ Roberto Silva, operatiiviset johtaja, São Paulo Engineering Solutions, Brasilia
Olemme tehneet yhteistyötä Raydafonin kanssa jo jonkin aikaa, mutta heidän SWC-WH: nsa ilman taipumista kytkemistä on todella eronnut operaatioissamme-se on todistanut sen arvoisen kerran. Ensimmäinen asia, jonka huomaat, on sen vankka rakenne; Se tuntuu olevan rakennettu kestävän, ja se tarkoittaa koneemme luotettavaa suorituskykyä.
Ennen kuin siirryimme tähän kytkemiseen, käsittelimme usein seisokkeja väärinkäytöksistä ja vanhojen osiemme ennenaikaisesta kulumisesta. Nyt? Nämä ongelmat ovat poissa. Se on leikattu seisokkeemme alas, mikä on ollut valtava lisäys tuottavuudelle. Ja asennus? Erittäin helppo - joukkueemme ei tuhlaa aikaa vianetsintäasennukseen. Jokaiselle yritykselle, joka tarvitsee voimansiirtoosat, joihin he voivat luottaa, tämä ei ole brainer. Suosittelen sitä ehdottomasti.
⭐⭐⭐⭐⭐ Peter Müller, tekninen ohjaaja, Stuttgart Manufacturing GmbH, Saksa
Olemme käyttäneet Raydafonin SWC-WH-kytkemistä Stuttgart-tuotantolaitoksessamme yli kuusi kuukautta, ja se on ollut virheetöntä-vakavasti, ei yhtään numeroa koko ajan. Sen suunnittelu on suoraviivaista, mikä tekee asennuksesta sinimin; Tiimimme oli se asunut ja valmis menemään nopeasti, monimutkaisia vaiheita tai erityisiä työkaluja ei tarvita.
Se, mikä todella tekee minusta vaikutuksen, on kuitenkin laatu. Hitsaus on puhdasta ja vahvaa, ja materiaalit tuntevat korkealaatuisia-voit kertoa, etteivät he leikkaneet kulmia. Se pidetään täydellisesti säännöllisessä käytössä, mikä osoittaa nolla merkkejä kulumisesta jopa kuukausien jatkuvan toiminnan jälkeen. Olemme enemmän kuin tyytyväisiä siihen, miten tämä tuote toimii, ja se on jo luettelossamme käyttää tulevia projekteja.
Osoite
LUOTUO -teollisuusalue, Zhenhai District, Ningbo City, Kiina
Puh
Sähköposti


+86-574-87168065


LUOTUO -teollisuusalue, Zhenhai District, Ningbo City, Kiina
Copyright © Raydafon Technology Group Co., rajoitettu kaikki oikeudet pidätetään.
Links | Sitemap | RSS | XML | Tietosuojakäytäntö |
